Kyle Tucker
Home
About
Product
Patent
Prototype
Guitar
Motorcycle
Contact
Home
About
Product
Patent
Prototype
Guitar
Motorcycle
Contact
Kyle Tucker
Patents
These are the patents that I am currently on, more are coming that are in the pending stages
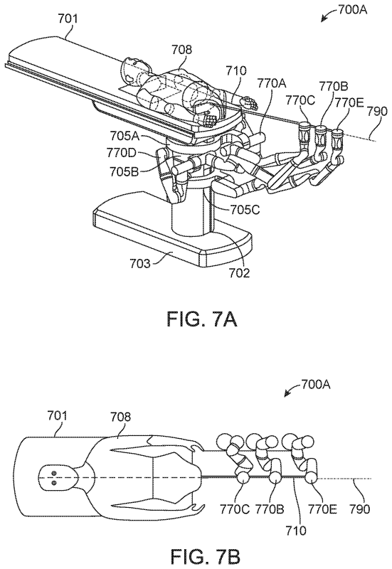
Auris:
US9622827B2 - Surgical Robotics System
US9636184B2 - Swivel bed for a surgical robotics system
SmallHD:
US8907216B2 - Cable port protection apparatus
Wink Robotics:
US20190269222A1 - Eyelid covering and stabilization for automatic eyelash extension
Accenture:
US2021002120A1 - Beverage dispensing machine for achieving target pours for different beverages